| 청정구역 | 실명 | 청정도 (공기중의 미생물수 C.F.U/m³) |
온,습도 | 실내소음(NC) | 최소 외기량 (회/HR) |
최소 회전용량 (회/HR) |
실 내 압 |
실내 순환 기기설치 |
최종필터의 효율 |
비고 | |||
|---|---|---|---|---|---|---|---|---|---|---|---|---|---|
| 여름 | 겨울 | ||||||||||||
| 온도 (ºC DB) |
습도 (% RH) |
온도 (ºC DB) |
습도 (% RH) |
||||||||||
| 고청정 구역 |
층류식 바이오클린 수술실 |
100 | 25 | 55~60 | 24 | 55 | 30 | 30 | 200~400 | 양압 | X | HEPA95~99.97%이상 | - |
| 청정구역 A |
수술실 응급수술실 중증신생아실 무균제제실 |
100 | 25 | 55~60 | 24 | 55 | 30 | 10 | 50 | 양압 | X | HEPA95~99.97%이상 | 수술실은 무균수술 청정수술,비청정술 구역으로 구분한다. |
| 청정구역 B |
미숙아실 ICU 분만실 특수병실 |
10,000 | 25 | 55~60 | 24 | 50 | 30 | 3~4 | 20~30 | 양압 | X | MEDIUM 60%이상 |
- |
| 준청정구역 | 외래진료실 X선실 검사실 병실 |
10,000 | 25 | 55~60 | 24 | 50 | 30 | 2~3 | 10~20 | 양압 등압 |
O | MEDIUM 60%이상 |
각과마다 ZONNING한다 |
| 일반 구역 |
사무실 약국 일반식당 |
- | 25 | 55~60 | 24 | 50 | 30 | 1.5~2 | 4~6 | 등압 음압 |
O | MEDIUM 60%이상 |
주방, 세탁실은 배기 20회/HR |
| 오염확산 방지구역 |
미생물 검사실 RI검사실 감염증병실 해부실 |
- | - | - | - | - | - | 10~15 | 배기10 | 음압 | X | MEDIUM 60%이상 |
- |
| 오염구역 | 일반화장실 세탁분류실 |
- | - | - | - | - | - | - | 배기10 | 음압 | X | - | - |
| 병명 | 필요이유 | 적합한 병실의 종류 | 청정도 | 온도(℃) | 습도(%) | 필요설비/비품 |
| 금성 백혈병 | 중증 감염증의 예방 |
· 수직, 수평공조방식 · 건축 : 후레아브 필터 모듈 단 1~3개월간 생활하므로 어느 정도의 바닥 면적이 필요 |
100 | 22~26 | 50~60 | 의료 Gas,콘센트 화장실, 세면기, 멸균수 제조기, 양욕조 실내멸균설비멸균 Pass Box 공조기, TV모니터 단자 |
| 열상치료 | 개방요법시 감염방지 |
· 수직공조방식 · 건축 : 후레아브 필터 모듈 |
100~1,000 | 24~35 | 40~50 (60~75) |
의료 Gas,콘센트 화장실, 세면기, 오물방류 시설, 수치료 설비, 멸균 Pass Box 공조기, TV,모니터 단자, 히터 |
| 조직이식 | 면역억제제의 투여에 의한 저항력 강화 |
· 수직, 수평공조방식 · 건축 : 후레아브 장기생활을 할 수 있도록 넓은 장소가 필요 |
100~1,000 | 22~26 | 50~60 | 급성 백혈병과 같음 |
| 강약치료 | 강력약품 투여에 의한 저항력 대응 | · 조직이식과 같음 | 100~1,000 | 22~26 | 50~60 | 급성 백혈병과 같음 |
| 알레르기성 호흡기질환 | 유해약품 투여에 의한 저항력 대응 | · 조직이식과 같음 | 100~1,000 | 22~26 | 50~60 | 급성 백혈병과 같음 |
| 면역 불완전병 | 환자 자신의 저항력 결함 감염방지 | · 조직이식과 같음 | 100~1,000 | 22~26 | 50~60 | 급성 백혈병과 같음 |
| 재생불량성 빈혈 | 감염방지 | · 조직이식과 같음 | 100~1,000 | 22~26 | 50~60 | 급성 백혈병과 같음 |
| 인플루엔자 | 감염방지 |
· 수직방식 · 건축 : 후레아브 필터 모듈 |
100~1,000 | 22~26 | 50~60 | 의료 Gas,콘센트 화장실, 세면기,샤워 공조기 |
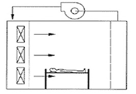
| 비교 | 수직층류 | 수평층류 |
|---|---|---|
| 기류방식 | ![]() |
![]() |
| 청정도분포 | 실내전체가 CLASS100유지 | 사람과 물건에 의한 하류측의 청정도가 떨어진다. |
| 오염원제거 | 미소부분이 오염되나 최대 5초 이내에 실외로 제거됨 | 미소부분이 오염되나 최대 10초 이내에 실외로 제거됨 |
| 환자의 행동 | 기류는 천장으로부터 바닥으로 향하는 수직 층류이므로 환자는 자유로운 행동이 가능 |
환자의 머리쪽을 상류로 할 경우 행동은 자유로움 |
| 간호 | 의사, 간호사는 멸균가운, 마스크, 캡을 착용하고 환자를 대한다. |
좌동 |
| 벽면의이용 | 4면을 이용가능 | 2면만 이용가능 |
| 병실내면적 | 주문사양 | 좌동 |
| 기밀 | 완전기밀 | 좌동 |
| 설계 | 자유 | 자유(기재배치에 악간 제한) |
| 방재 | 불연구조 | 좌동 |
| 소음 | 42-45DB(A) | 42-45DB(A) |
| 가스멸균 | 가능(포르말린, 오존) | 가능(포르말린, 오존) |